地址: 啟東市城北工業園區
臺角二路10號
電話:
0513-83223788
0513-83220131
0513-85399789
傳真: 0513-83223788
0513-85399789
手機: 13862985906
13186502379
郵編: 226200
網址: www.tiao-ma.org.cn
www.qdhhsh.cn.alibaba.com
E-mail:hhsh@qdhhsh.com |
|
|
袋式精細過濾器
|
產品概述
袋式精細過濾器是由容器、濾袋、支撐網籃三部分構成一個簡便、高效、通用的液體過濾系統。需要過濾的流體,由上口進入濾袋,液體中的固定物質會被阻留在袋內,從而得到清潔的流體,由于其使用簡便,經濟合理,因而廣泛用于石油產品、化工產品、油漆、食品及飲料、污水等方面過濾。袋式精細過濾器具有高流通能力,高過濾精度,低成本,操作簡便、快速等特點。適用于任何微細顆粒(0.3-60um)的過濾。
 |
 |
|
金屬過濾器 |
非金屬過濾器 |
|
型號標注
1.
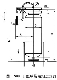
單線式精細過濾器SBD-I型
型 號 |
流量 |
過濾面積 |
安裝尺寸 |
進出口
N1 N2 |
(m3/h) |
(m2) |
h |
H |
A |
D |
SBD-IA |
12 |
0.16 |
420 |
480 |
100 |
Ф114 |
DN32 PN1.6 |
SBD-IB |
36 |
0.5 |
800 |
880 |
310 |
Ф219 |
DN50 PN1.6 |
注:● 表中所列流量以水為介質
●
設備工作壓力≤1.0MPa
●
進出口接管規格:DN50、PN1.6。 |
 |
2.
多袋式精細過濾器SBD-II型
四袋式精細過濾器SBD-4II
主要技術參數
工作壓力(MPa)
|
≤1.0 |
工作溫度(℃)
|
≤200 |
處理量(m3/h)
|
140(以水為介質) |
進出口接管規格 |
DN100
PN1.6 |
五至八只袋精細過濾器SBD-5~8II型
型號 |
流量 |
安裝尺寸 |
(m3/h) |
H |
h1 |
h2 |
h3 |
h4 |
L1 |
L2 |
D |
SBD-5II |
180 |
1800 |
780 |
580 |
200 |
300 |
340 |
520 |
F650 |
SBD-6II |
216 |
SBD-7II |
252 |
2050 |
780 |
790 |
290 |
300 |
260 |
500 |
F800 |
SBD-8II |
288 |
注:● 表中所列流量以水為介質,工作壓力≤1.0MPa
●
進出口N1、N2接管規格,JHGB-5、6II為DN100、PN1.6,
SBD-7、8II為DN150、PN1.6 |
|
3.
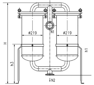
并聯式精細過濾器SBD-III型
型 號 |
流量 |
安裝尺寸 |
(m3/h) |
H |
h1 |
h2 |
h3 |
SBD-IIIA |
36 |
1040-1190 |
500 |
210-360 |
695 |
SBD-IIIB |
72 |
1175-1540 |
850 |
0-360 |
注:● 表中所列流量以水為介質,工作壓力≤1.0MPa
●
進出口接管規格:DN65、PN1.6 |
 |
袋精細過濾器應用領域
石油化工
1、航空煤油及潤滑油的過濾
2、石油及燃油添加劑的過濾
3、油品回收
4、石油及天然氣脫水溶劑的過濾
5、PVC生產中的液體及氣體過濾 |
水 處
理
1、海水去除顆粒
2、離子交通樹脂回收
3、冷卻裝置中系統凈化
4、管道結垢的清
5、PVC生產中的液體及氣體過濾
6、用于水處理的化學品過濾
7、城市供水的濾清
8、鈣結晶的去除
9、油田注水和完井液的過濾 |
精細化工
1、催化劑回收
2、去除表面活性劑結晶鹽份
3、X-射線懸物的濾清
4、洗滌劑的濾清
5、化妝品原料及成品的過濾 |
化 學
品
1、催化劑回收
2、酸、堿和溶劑的濾清
3、碳墨及助濾劑的去除
4、管道結垢的去除
5、乳液和懸浮液的過濾 |
涂料和油漆
1、去除懸浮凝結塊
2、去除油漆凝結塊
3、去除油漆中的結塊
4、溶劑的過濾
5、貯罐污物的去除
6、球磨機填塞物的去除 |
食品及飲料
1、啤酒中PolYCLar的過濾
2、葡萄灑、威士忌和啤灑的拋光過濾
3、烹飪油中雜質顆粒的去除
4、去除纖維素中的碳黑
5、玉米糖漿的拋光過濾
6、動植物提取液的濾清
7、食用醋和醬油的拋光過濾
8、聽罐涂層的涂料過濾
9、洗瓶用堿洗液的過濾 |
粘 結
劑
1、從丙烯酸粒劑中去除凝膠
2、樹脂及結晶物的去除
3、去除膠性涂料中的凝結塊
4、熱溶聚合物的過濾
5、去除懸乳液中的PVA凝結塊 |
|
|
|
|